Глава 4. Конструирование и технология изготовления богослужебного иерейского облачения
(фелонь, епитрахиль, пояс, поручи, набедренник, палица)

Фелонь – верхнее богослужебное одеяние священников и в некоторых случаях епископов;
Епитрахиль – одеяние священника, представляющее собой двойной орарь, охватывающий шею и двумя концами спускающийся на груди вниз.
Пояс – не очень широкая полоса материи с отделкой в виде полос другого цвета или отделки по краям, с крестом посередине.
Поруч – слегка выгнутая полоса плотной материи с изображением креста посередине, обшитая по краям лентой иного оттенка, чем поруч.
Набедренник – продолговатый прямоугольный плат на длинной ленте – первая по очереди награда за ревностное служение Церкви.
Палица – плат в виде ромба.
4.1. Конструирование иерейского облачения
Техническое описание:
Фелонь – накидка без рукавов, с прорезью для головы, спереди посередине – шов, длина спереди немного выше линии талии, сзади – не доходит до пола – 30–35 см, в верхнюю часть вставляется съемное оплечье, состоящее из двух слоев плотной клеевой ткани, хорошо держащее форму, по форме оплечья на фелонь настрачивается галун шириной 4–5 см, по всему периметру изделия на расстоянии 5–20 см от низа настрачивается еще один ряд галуна шириной 4–5 см, край горловины и низ обрабатывается галуном шириной 1,5 см, на спинке сверху – крест, внизу – звездица (восьмиконечный крест), изделие полностью на подкладке.
Епитрахиль – изделие в виде двух полос, шириной 16,5–17 см, наверху – вырез для горловины, шов соединения – сзади, закрывается маленьким крестом, спереди – по три креста на каждой полосе, по краю – галун шириной – 2,5 см, по низу два ряда бахромы, изделие на подкладке, для придания формы основная ткань дублируется клеевой бортовкой, подкладка – дублерином, полосы соединяются пуговицами в количестве семи штук.
Пояс – полоса шириной 10 см, длиной 90–100 см, по центру – крест, по бокам – ленты для завязок, на подкладке, основная ткань и подкладка продублированы клеевым материалом.
Поруч – слегка выгнутая полоса шириной 14,5 см, с крестом в центре, с одной боковой стороны пришивается шнур длиной – 1,0 м и три петли, с другой – четыре петли, на парном поруче петли и шнур располагаются симметрично первому поручу, изделие обрабатывается подкладкой и дублируются клеевой бортовкой, по краю настрачивается галун шириной 1,5 см.
Набедренник – прямоугольник на подкладке, размером 35 х 70 см, в центре – крест, наверху по краям притачивается лента, по низу в два ряда – бахрома, по всему периметру и над верхним рядом бахромы – галун 4 см, основной материал и подкладка дублируются клеевыми материалами.
Палица – изделие в виде ромба, укрепленное плотной клеевой в два слоя, на подкладке, в центре располагается крест, наверху в углу – лента, по нижним сторонам – бахрома, по периметру – галун 4 см шириной.

Рисунок 208. Технический рисунок.
4.1.1. Используемые материалы и детали кроя
Используемые материалы:
1. Основной материал верха (парча, жаккардовый шелк, бархат, велюр, тафта и т.п.) – 3,2–4,0 м при ширине ткани – 150 см (в зависимости от роста, размера, раппорта рисунка, рациональной раскладки лекал).
2. Подкладочный материал (шелк подкладочный, атлас, вискоза и т.п.) – 3,2–4,0 м.
3. Прокладочный материал:
1) клеевая бортовка – расчет: длина епитрахили + 35 см (при ширине бортовки 80 см).
2) дублерин – расчет: длина епитрахили + 10 см. 3) жесткая клеевая ткань – 1,8–2,0 м.
4. Галуны (без учета усадки):
ширина – 4–5 см – 10,1–10,3 м,
на фелонь – 6,35–6,55 м,
на набедренник – 2,45 м,
на палицу – 1,3 м;
ширина 2,0–2,5 см (на епитрахиль) – 6,2–6,4 м, ширина 1,5 см – 10,4–10,6 м,
на фелонь – 5,65–5,8 5м,
на епитрахиль (горловина) – 0,9 м,
на пояс – 2,25 м,
на поручи – 1,6 м.
5. Бахрома – 2,1 м (без учета усадки)
на епитрахиль – 0,7 м,
на набедренник – 0,7 м,
на палицу – 0,7 м.
6. Комплект крестов: большой крест (на фелонь) – 1 шт., звездица (на фелонь) – 1 шт., средний крест (10,5 см) – 2 шт. (на набедренник и палицу), крест (9 см) – 6 шт. (на епитрахиль), крест (7 см) – 3 шт. (на поручи и пояс), маленький – 1 шт. (на епитрахиль);
7. Шнур (на поручи) – 3,0 м.
8. Пуговицы (на епитрахиль) – 7 шт.
9. Нитки – 1 катушка Наиболее оптимальная ширина ткани – 150 см.
Детали кроя из основного материала:
1. Средняя часть фелони – 1 деталь со сгибом.
2. Боковая часть фелони – 2 детали.
3. Епитрахиль – 2 детали.
4. Пояс – 1 деталь (прямоугольник 10 х 100 см). 5. Поруч – 2 детали.
6. Набедренник – 1 деталь (прямоугольник 70 х 35 см).
7. Палица – 1 деталь (ромб с диагоналями 47 х 38 см).
Детали кроя из подкладочного материала:
1. Фелонь – 2 детали.
2. Епитрахиль – 2 детали.
3. Пояс – 1 деталь.
4. Лента для пояса – 2 детали, шириной 10 см (в готовом виде – 2,5 см), длиной – 100 см.
5. Поруч – 2 детали.
6. Набедренник – 1 деталь.
7. Лента для набедренника – 1 деталь, шириной 10 см (в готовом виде – 2,5 см), длиной – 1,47–1,54 м.
8. Палица – 1 деталь.
9. Лента для палицы – 1 деталь, шириной 10 см (в готовом виде – 2,5 см), длиной 1,54–1,59 м.
10. Оплечье – 2 детали.
Детали кроя из прокладочного материала:
Клеевая бортовка:
1. Епитрахиль – 2 детали;
2. Пояс – 1 деталь;
3. Поруч – 4 детали;
4. Набедренник – 1 деталь.
Дублерин:
1. Епитрахиль – 2 детали;
2. Пояс – 1 деталь;
3. Поруч – 2 детали;
4. Набедренник – 1 деталь.
Жесткая клеевая ткань:
1. Оплечье – 2 детали;
2. Палица – 4 детали.
Замечания:
1. Наиболее оптимальная ширина ткани – 150 см.
2. Галуны при ВТО дают усадку – 3–5%.
3. Фелонь небольшого размера может состоять из одной детали.
4. Длину пояса убавить при объеме талии менее 90 см.
5. Ленты для пояса, набедренника и палицы можно взять готовые.
6. Для оплечья лучше взять подкладку менее скользкую (вискоза или вискоза + хлопок).
7. Вместо клеевой бортовки можно использовать прокладочную ткань – двунитка..
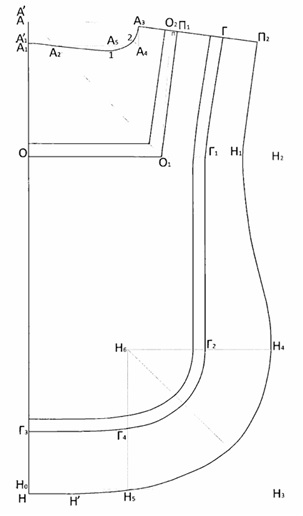
4.1.2. Расчетное построение чертежа фелони (чертеж 14) и оплечья (чертеж 15).
Таблица № 1.
| Размер Сг | Глубина горловины переда | |||||
| Рост (см) | ||||||
| 164 | 170 | 176 | 182 | 188 | 194 | |
| 46 | 24,5 | 25,0 | 25,5 | 26,0 | 26,5 | 27,0 |
| 48 | 24,8 | 25,3 | 25,8 | 26,3 | 26,8 | 27,3 |
| 50 | 25,1 | 25,6 | 26,1 | 26,6 | 27,1 | 27,6 |
| 52 | 25,4 | 25,9 | 26,4 | 26,9 | 27,4 | 27,9 |
| 54 | 25,7 | 26,2 | 26,7 | 27,2 | 27,7 | 28,2 |
| 56 | 26,0 | 26,5 | 27,0 | 27,5 | 28,0 | 28,5 |
| 58 | 26,3 | 26,8 | 27,3 | 27,8 | 28,3 | 28,8 |
| 60 | 26,6 | 27,1 | 27,6 | 28,1 | 28,6 | 29,1 |
| 62 | 26,9 | 27,4 | 27,9 | 28,4 | 28,9 | 29,4 |
| 64 | 27,2 | 27,7 | 28,2 | 28,7 | 29,2 | 29,7 |
| 66 | 27,5 | 28,0 | 28,5 | 29,0 | 29,5 | 30,0 |
| 68 | 27,8 | 28,3 | 28,8 | 29,3 | 29,8 | 30,3 |
| 70 | 28,1 | 28,6 | 29,1 | 29,6 | 30,1 | 30,6 |
Таблица № 2.
Зависимость расстояния от низа до галуна по спинке фелони (отрезок НГ3) от роста
| Рост | 164 | 170 | 176 | 182 | 188 | 194 |
| НГ3 | 19,5 | 20,0 | 20,5 | 21,0 | 21,5 | 22,0 |
Таблица № 3 (проверочная).
| Размер Сг | Ширина оплечья | ||||
| Рост (см) | |||||
| 164 | 170 | 176 | 182 | 188 | |
| 46 | 38,0 | 39,4 | 40,7 | 41,9 | – |
| 48 | 38,7 | 39,7 | 41,1 | 42,6 | – |
| 50 | 39,0 | 40,4 | 41,7 | 43,0 | 44,4 |
| 52 | 39,2 | 40,7 | 42,2 | 43,5 | 44,7 |
| 54 | 39,7 | 41,1 | 42,7 | 43,9 | 45,4 |
| 56 | – | 41,8 | 43,1 | 44,4 | 46,1 |
| 58 | – | 42,2 | 43,6 | 44,9 | 46,5 |
| 60 | – | 42,8 | 44,2 | 45,5 | – |
| 62 | – | 43,3 | 44,6 | 46,1 | – |
| 64 | – | – | 45,3 | – | – |
| 66 | – | – | 45,9 | – | – |
| 68 | – | – | 46,3 | – | – |
| 70 | – | – | 47,0 | – | – |
Размер 176–100–88.
1. Сш = 20,5
2. Дтс = 45,5
3. Дтп2 = 46,9
4. Дтп = 55,6
5. Влт = 109,9
6. Шп = 15,5
7. Вп = 6,7
Мерку Вп (высота плеча) определяют вычитанием мерки Впт (высота плечевой точки) из мерки Вшт (высота шейной точки).
5,8 ± 0,75 – высокие плечи;
7,3 ± 0,75 – нормальные плечи; 8,8 ± 0,75 – низкие плечи.
| № | Название линий | Расчетная формула | Вычисление | Результат |
| 1 | Построить прямой угол с вершиной в т. А. | |||
| 2 | От т. А ↓, отложить отрезок AA1, равный ширине горловине спинки. | AA1 = Сш/3 + 1,7 | AA1 = 20,5/3 + 1,7 | 8,5 |
| 3 | От т. А → провести горизонтальную линию и на ней отложить отрезок А1А2 – ширину горловины спинки . | А1А2 = АА1 + Псв Псв = 0,3 Для оплечья: А1А2 = АА1 | А1А2 = 8,5 + 0,3 А1А2 = 8,5 | 8,8 8,5 |
| 4 | От т. Α1 ↑ отложить отрезок A1A1´ – величина прогиба. | A1A1´ = 0,7 | 0,7 | |
| 5 | От т. Α1 ↓ отложить отрезок А1´Н – длину фелони. | Α1 Н = Дтс + 12 + Влт – 20,0 | Α1 Н = 45,5 + 12 + 109,9 – 20,0 | 147,4 |
| зависит от желания заказчика, стандартная длина фелони по спинке – 20,0 см от пола. | ||||
| 6 | От т. Н1 отложить отрезок НН0 и через т. Н0 → провести вспомогательную линию низа. | НН0 = 1,5÷2,0 | 1,5 | |
| 7 | От т. A1 ↓ отложить отрезок Α1´О – длину оплечья по спинке. | А1´О = 0,25 х А1´Н | А1´О = 0,25 х 147,4. | 36,9 |
| 8 | От т. О → провести горизонтальную линию и на ней отложить отрезок OO1 – линию верхнего галуна, ширину оплечья по спинке. | OO1 = (bc – b х AA1 + ас)/ а + Псв; Для оплечья: OO1 = (bс – b х AA1 + ас)/a; где a = Bп + 12, b = Α1´О – a, с = Сш/3 + Псш + Шп + Пшп. На стандартную фигуру ширину оплечья можно взять из таблицы | а = 6,7 + 12 b = 36,9 – 18,7 с = 20,5/3 + 2 + 15,5 + 1 ОО1 = (18,2 х 25,3 -- 18,2 х 8,5 + 18,7 х 25,3)/18,7 + 0,3 Для оплечья: OO1 = (18,2x25,3–18,2 х 8,5 +18,7 х 25,3)/18,7 | 18,7 18,2 25,3 42,0 41,7 |
| 9 | Отложить от т. A1 ↑ отрезок А1А´ и соединить точки А´, А2 и О1 (они должны получиться на одной линии) – получена линия сгиба оплечья. | A1A´ = ((а-0,7) х A1A2)/(c – A1A2) | Для фелони: A1A´ = (18,7–0,7)х 8,8)/(25,3 – 8,8) Для оплечья: A1A´ = (18,7–0,7)х 8,5)/(25,3 – 8,5) | 9,6 9,1 |
| 10 | Построить т. О2 – путем пересечения дуг О1О2 и А´О2, где O1O2 = ОО1, О1О2 = 42,0 – для фелони; О1О2 = 41,7 – для оплечья; ΑΌ2 = А´О = A1´O – A1А´ + A1A´ = 36,9 – 0,7 + 9,1 = 45,3 – для оплечья; ΑΌ2 = 36,9 – 0,7 + 9,6 = 45,8 – для фелони. Соединить прямой линией т. O1 и О2. Соединить прямой линией т. А´ и О2 – получена вспомогательная линия середины переда. | |||
| 11 | От т. А´ на вспомогательной линии середины переда А´О2 отложить глубину горловины. | А´А3 = (А´А1 – 0,7) + Ггорл + 0,3 – для фелони; А´А3 = (А´А1 – 0,7) + Ггорл + 0,3 – для оплечья; где Ггорл – глубина горловины переда берется из таблицы №1 | А´А3 = (9,6 – 0,7) + 26,1+ 0,3 – для фелони; А´А3 = (9,1 – 0,7) + 26,1 – для оплечья; | 35,3 34,5 | |||
| 12 | Скорректировать линию середины переда. От т. О2 ↓ на отрезке О2О1 отложить величину вытачки: О2П = 0,5. Соединить т. А3 и П и продолжить линию →. | ||||||
| 13 | Скорректировать линию оплечья по переду: от т. О1 на линию середины переда опустить ⊥. Точку пересечения обозначить т. П1. | ||||||
| 14 | Для построения оплечья закруглить угол OO1П1. | ||||||
| Построение линии горловины | |||||||
| 14 | От т. А3 ↓ провести ⊥ на горизонтальную линию, проведенную из т. A1. Точку пересечения обозначить т. А4. | ||||||
| 15 | От т. А4 ← отложить отрезок А4А5. | А4А5 = 0,25А´А3 (для оплечья) | А4А5 = 0,25 х 34,5 | 8,6 | |||
| 16 | От т. А5 ↓ провести А51. | А51 = 2,0 | |||||
| 17 | Из угла А3А4А5 построить биссектрису и на ней отложить т. 2. | А42 = 2,0 | |||||
| 18 | Провести линию горловины, плавно соединяя точки А1´, А2, 1, 2, А3. | ||||||
| Построение линии низа | |||||||
| 19 | От т. А3 по линии середины переда А3П отложить длину фелони по переду. | А3П2 = Дтп2 – 9 | А3П2 = 46,9 – 9 | 37,9 | |||
| 20 | От т. П2 построить ↓ ⊥ к линии А3П2 до горизонтали, проведенной из т. О. Точку пересечения обозначить т. H1. | ||||||
| 21 | От т. H1 → по горизонтали отложить величину выступа по боковой части фелони – отрезок H1H2 = 10,0. | ||||||
| 22 | От т. Н2 ↓ провести вертикаль до пересечения со вспомогательной линией низа. Точку пересечения обозначить т. Н3. | ||||||
| 23 | От т. Н3 ↑ отложить отрезок Н3Н4 | Н3Н4 = 0,42 х Н2Н3 | Н3Н4 = 0,42 х 109 | 45,8 | |||
| 24 | От т. Н3 ← отложить отрезок Н3Н5 | Н3Н5 = Н3Н4 | Н3Н5 = 45,8 | ||||
| 25 | От т. Н51 отложить отрезок Н5Н6. Соединить точки Н3 и Н6 прямой линией | Н5Н6 = Н3Н4 | Н5Н6 = 45,8 | ||||
| 26 | От т. Н → провести горизонтальную линию и на ней отложить отрезок НН´ = 13,0 | ||||||
| 27 | Провести линию низа фелони: участок НН´ – прямая линия, далее плавной линией соединить с т. Н5, Н5Н4 – дуга окружности с центром в т. Н6, т. Н4 и т. Н1 – линия из выпуклой плавно переходит в вогнутую, H1П2 – прямая линия. При соединении точек важно получить красивую линию низа, для этого при необходимости допускается отклониться от т. Н5 ↓ и т. Н1 →(в пределах 0,5–1,0 см). | ||||||
| Построение линий настрачивания галунов | |||||||
| 28 | Нижняя линия галуна по оплечью совпадает со сторонами угла OO1П1. Верхняя – зависит от ширины галуна. | ||||||
| 29 | Нижний галун намечается следующим образом: от т. П2 ← по линии середины переда отложить отрезок П2Г | П2Г = (П1П2-Г1 + Г2) /2, где Γ1 – ширина галуна по оплечью. Г2 – ширина галуна по низу фелони. | П2Г = (24,0 – 4 + 1,5) /2 | 10,8 | |||
| 30 | Провести нижнюю линию галуна от т. Г1 ⊥ линии середины переда до пересечения с горизонталью, проведенной → от т. О. Точку пересечения обозначить т. Г1. Далее от т. Г1 ↓ провести вертикаль до пересечения с отрезком Н6Н4. Точку пересечения обозначить Г2. При соединении точек важно получить красивую линию галуна, для этого при необходимости допускается отклониться от т. Г1 → ( в пределах 0,5–1,0 см) и провести в этой области линию более плавную. | |||
| 31 | От т. Н ↓ отложить отрезок НГ3. | НГ3 = 20,5 (величина берется из таблицы №2 согласно росту). | ||
| 32 | От т. Г3 провести линию нижнего края галуна параллельно линии низа до пересечения с отрезком Н5Н6, точку пересечения обозначить т.Г4. | |||
| 33 | От т. Н6 по диагонали Н6Н3 отложить отрезок Н6Г5. | Н6Г5 = (Н6Г4 + Н6Г2)/2 | Н6Г5 = (25,3 + 25,0)/2 | 25,2 |
| 34 | Соединить плавной линией точки Г4, Г5 и Г2. | |||
| 35 | Наметить место расположения креста: крест должен располагаться по центру оплечья на спинке. | |||
4.1.3. Расчетное построение чертежа епитрахили (чертеж 17)
| № | Название линий | Расчетная формула | Вычисление | Результат |
| 1 | Построить прямой угол с вершиной в т. А. | |||
| 2 | От т. А ↓, отложить длину епитрахили. | АН = Дтп + Влт – 20 (если длина фелони 20 см от пола) | АН = 55,6 + 109,9 – 20 | 145,5 |
| 3 | От т. А → отложить отрезок АА1, определяющий ширину епитрахили. | АА1 = 16 | 16 | |
| 4 | От т. A1 ↓ опустить вертикаль до пересечения с линией низа –точку пересечения обозначить т. Н1. | |||
| 5 | От т. А → построить т. А2 | АА2 = 9,5 | 9,5 | |
| 6 | От т. A1 ↓ отложить отрезок А1Б. | А1Б = 25,0 | 25,0 | |
| 7 | Соединить прямой линией т. А2 и Б, из середины отрезка А2Б построить ⊥ →, равный 2,0 см, конец перпендикуляра обозначить т. 1 | |||
| 8 | Провести плавную линию, соединяя т. А2, 1 и Б – получена внешняя линия епитрахили. | |||
| 9 | От т. А2 ← перпендикулярно линии А21Б – построить линию задней середины | А2А3 = 4,3 | 4,3 | |
| 10 | От т. А1 отложить глубину горловины. | АА4 = 34,0 для размеров 48–58 АА4 = 35,4 для размеров 60–68 АА4 = 36,8 больше 68 размера | АА4 = 34,0 | 34 |
| 11 | Найти середину отрезка АА4 и из полученной т. 2 → отложить вспомогательную точку А5. | А2 = АА4/2 2А5 = 9,5 | А2 = 34/2 | 17 9,5 |
| 12 | Провести линию горловины, плавно соединяя точки А3, А5 и А4. | |||
| 13 | Нижняя линия верхнего галуна располагается на расстоянии 21 см от линии низа. Расположение крестов рассчитывается в зависимости от раппорта рисунка на одинаковом расстоянии друг от друга. Центр нижнего креста при этом находится на расстоянии 13–14 см от нижней линии верхнего галуна. | |||
4.1.4. Построение чертежа набедренника (чертеж 16), палицы (чертеж 19), пояса (чертеж 18)
Набедренник
1. Построить прямоугольник:
шириной 35 см;
длиной 70 см.
2. Место расположения креста наметить в центре прямоугольника.
3. Нижнюю линию верхнего галуна наметить на расстоянии 20,5 см от низа.
Палица
1. Построить ромб с диагоналями 38,0 и 47 см.
2. Место расположения креста отметить в центре ромба.
Пояс
1. Построить прямоугольник:
длиной 100 см;
шириной 10 см.
2. Место расположения креста наметить в центре прямоугольника.
4.1.5. Расчетное построение чертежа поруча (чертеж 20)
| № | Название линий | Расчетная формула | Вычисление | Результат |
| 1 | Провести вертикальную линию и наверху отметить т. О. | |||
| 2 | На вертикальной линии провести дугу окружности с центром в т. О, с радиусом R. Точку пересечения с вертикальной линией обозначить т. П. | R= (Озап х H)/L, где Н – высота поруча Н = 14,2 L = 9,4÷10,5 в зависимости от полноты | R = (18,2 х 14,2)/10 | 25,8 |
| 3 | От т. П ← и → отметить ширину поруча. | ПП1 = ПП2 = Озап/2 | ПП1 = ПП2 = 18,2/2 | 9,1 |
| 4 | От т. П ↓ отложить высоту поруча ПН. | ПН = 14,2 | 14,2 | |
| 5 | Провести дугу окружности через т. Н с центром в т. О. | |||
| 6 | Соединить точки О и П1, О и П2 и продлить линии ↓ до пересечения с нижней дугой. | |||
| 7 | Закруглить полученные прямые углы. | |||
| 8 | Отметить в центре место расположения креста. | |||

Чертеж 14. Фелонь.

Чертежи 15, 16, 17, 18, 19 и 20.
(Чертежи оплечья, епитрахили, поруча, набедренника, палицы, пояса).
4.2. Технология изготовления иерейского богослужебного облачения
4.2.1. Изготовление фелони
Припуски при раскрое:
1. Верхняя часть фелони из основного материала:
– по линии середины переда на шов соединения – 3 см;
– по срезу горловины и низа на осыпание (для сыпучих тканей) – 1 см;
– на шов соединения частей фелони – 2 см (рис. 210).

Рисунок 209 и Рисунок 210.
2. Нижняя часть фелони из подкладочного материала:
– по линии середины спинки на шов соединения – 2 см;
– по линии середины переда на шов соединения – 3 см;
– по срезу горловины – 3 см;
– по срезу низа – 4 см (из них 1,5 см на свободу) (рис. 211).

Рисунок 211.
3. Оплечье из прокладочного материала:
– по всем срезам – 2 см (на уточнение после склеивания деталей) (рис.212).

Рисунок 212.
Технология изготовления фелони.
1. Соединение частей фелони из основной ткани.
Боковые надставки фелони (если фелонь состоит из трех деталей) притачать к основной части шириной шва 1,5–2 см, точно совмещая рисунок. Если раппорт рисунка точно не совпадает, то рисунок все равно необходимо совместить, а полученную посадку сутюжить. Швы стачивания разутюжить (рис. 213).

Рисунок 213.
2. Подготовка фелони к настрачиванию галунов.
1) Фелонь сложить вдоль пополам по линии середины спинки, наложить лекало, точно обвести, срезать излишки, оставляя припуск по линии середины переда.
2) Наметить контрольные линии и знаки:
– нитками проложить линии середины спинки и переда фелони (если на ткани крупный ярко выраженный рисунок, то линию середины спинки можно не прокладывать);
– наметить мелом нижнюю линию настрачивания галунов (если ткань ворсистая, то проложить линию нитками (рис. 214).

Рисунок 214.
3. Настрачивание галунов.
Подготовленные (продекатированные) галуны наложить на фелонь таким образом, чтобы их внешние стороны совпадали с намеченными линиями. На верхнем галуне (по оплечью) заложить углы симметрично. Галуны настрочить на расстоянии 1 мм от края по нижним сторонам. Затем сутюжить нижний галун, закладывая в местах закругления симметричные складочки по 3 штуки с каждой стороны, складки должны быть направлены в одну сторону и расстояние между ними должно быть одинаковое. Настрочить галуны по верхним сторонам на 1 мм от края.
4. Настрачивание (пришивание) креста и звездицы.
Крест и звездицу настрочить или пришить вручную на фелонь.
1) Крест располагается посередине спинки оплечья, центр должен совпадать с центром рисунка;
2) Звездица располагается на расстоянии 3–6 см от верхнего края нижнего галуна, центр звездицы должен совпадать с центром рисунка или немного смещен (если большой раппорт рисунка).

Рисунок 215.
5. Соединение частей фелони из подкладочной ткани.
Части подкладки сложить лицевыми сторонами внутрь, уравнять срезы, сколоть булавками и стачать по линии середины. Шов стачивания разутюжить (рис. 216).
6. Соединение верхней детали фелони с подкладкой.
Подкладку разложить на столе лицевой стороной вниз, затем наложить верхнюю деталь фелони лицевой стороной вверх, расправить, совместить середины верхней детали и подкладки, сколоть по середине и по краю (10 см от среза). Далее перевернуть подкладкой наверх, и сколоть по самому краю, делая напуск со стороны подкладки 1,5–2 см – по низу, 1–1,5 см по бокам (в зависимости от качества подкладочной ткани). Если подкладка просвечивает и через нее виден рисунок на основном материале, то удобнее раскладывать сначала основную деталь лицевой стороной вниз, затем подкладку, после этого скалывать детали.
Припуск из подкладки заметать на верхнюю деталь, отступая 50–60 см от линии середины переда. Припуск подрезать до 1–1,5 см.
7. Настрачивание галуна по низу фелони.
Настрочить галун по низу, кроме свободных участков, незаметанных припуском. При этом необходимо учесть, что стык галуна удобнее расположить сбоку от начала настрачивания галуна. Край фелони приутюжить (рис. 217).

Рисунок 216.

Рисунок 217.
8. Закрепление подкладки на верхней части фелони.
Фелонь разложить на столе подкладкой наверх, напуск подкладки согнать к нижнему широкому галуну, оставляя 0,5 см между нижним галуном и краем фелони, закрепить булавками, начиная от угла фелони (со стороны спинки). Сметать и стачать по внешней стороне широкого галуна (рис. 218).

Рисунок 218.
9. Частичная обработка горловины.
На спинке и частично на переде (6–8 см от сгибов в сторону середины переда), сколоть и сметать верхнюю деталь фелони и подкладки. Заметать припуск подкладки на верхнюю деталь, подрезать его до 1–1,5 см. Настрочить галун на этот участок, оставляя концы галуна, чтобы стык галуна потом расположить в складке (стык может располагаться на шве спереди). Сначала настрочить внешнюю сторону, затем сутюжить галун, потом внутреннюю (рис. 219).

Рисунок 219.
10. Соединение среднего шва на верхней части фелони и подкладки.
Верхнюю деталь фелони сколоть по линии середины переда, точно совместить рисунок, галун, сметать, затем стачать, шов разутюжить. Аналогично соединить шов на подкладке, предварительно проверив соответствие по ширине (рис. 220).

Рисунок 220.
11. Окончательная обработка горловины фелони.
Необработанный участок горловины фелони сколоть с подкладкой, на припуске подкладки сделать надсечки, не доходя до линии горловины 0,5 см. Заметать припуском подкладки. Припуск подрезать до 1–1,5 см. Настрочить остаток галуна, сначала внутренний край, затем галун сутюжить, придавая ему форму горловины, заложить с обеих сторон симметричные складочки (в одной из них сделать стык галуна) и настрочить галун по внешнему краю (при необходимости предварительно наметать). Приутюжить (рис. 221).

Рисунок 221.
12. Окончательная отделка низа фелони.
Необработанный участок низа фелони сметать с подкладкой, затем заметать припуском. Настрочить остаток галуна. Низ фелони приутюжить.
13. Изготовление оплечья.
Оплечье состоит из 2-х слоев жесткой клеевой ткани и подкладки, в которую оно вставляется. Склеить между собой оба слоя клеевой прокладки. Далее наложить лекало оплечья, точно обвести, наметить место сгиба оплечья и линию середины спинки, излишки срезать. По намеченным линиям сгиба проложить двойную машинную строчку (рис. 222), сложить оплечье и слегка приутюжить.
Подкладку сложить пополам лицевой стороной внутрь, наложить оплечье и обвести. Отложить припуски: по линии середины спереди – 2–3 см (1 см на обтачивание и 1–2 см на соединение оплечья в готовом виде), по линии горловины и по низу – 1 см. Вырезать по намеченным линиям.
Обтачать подкладку на 0,1 см от намеченной линии в сторону среза, сначала горловину, затем нижнюю часть, оставляя свободным 10–15 см в области середины спинки. Подкладку вывернуть, выправить края и вставить оплечье. Открытый участок заклеить клеевой паутинкой или заметать.

Рисунок 222.
Отстрочить оплечье крупной строчкой по линии горловины и по низу на расстоянии 0,7–1,0 см от края, затем сложить его, совмещая линии середины переда, шов стачать, затем разутюжить (рис. 223). Линии сгиба оплечья тщательно приутюжить.

Рисунок 223.
14. Соединение фелони с оплечьем.
Оплечье вставить в фелонь, совмещая линии середины по переду и по спинке, таким образом, чтобы по горловине фелонь выступала на 0,3–0,5 см.
Проверить соответствие оплечья и фелони:
– сгиб оплечья должен совпадать с углом галуна;
– по спинке оплечье должно быть длиннее на 1 см нижнего края галуна;
– линии горловины должны соответствовать.
Фелонь тщательно расправить, оплечье приколоть к фелони и пришить вручную двойной ниткой потайными стежками сначала по горловине, затем по нижней части оплечья. Следить за тем, чтобы строчка сильно не затягивала и не проходила насквозь.
15. Окончательная отделка фелони.
Удалить все сметочные нитки, фелонь отутюжить (рис. 224).

Рисунок 224.
4.2.2. Изготовления епитрахили
Припуски при раскрое:
1. Верхняя деталь епитрахили из основного материала – без припусков.
2. Нижняя деталь епитрахили из подкладочного материала – по боковым, верхней сторонам и горловине – 2 см, по низу – 6 см.
3. Внутренняя деталь епитрахили из прокладочного материала – без припусков.
4. Внутренняя деталь епитрахили из прокладочного материала для укрепления подкладки – припуски такие же, как на подкладке.
Технология изготовления епитрахили.
1. Дублирование епитрахили.
Детали епитрахили из основного материала продублировать клеевой бортовкой, при необходимости подрезать. Если в качестве прокладки используется двунитка, то на изнаночную сторону наложить прокладку, уравнять срезы, наколоть, а затем настрочить на 0,7 см от среза, приутюжить.
Вторая деталь укрепляется аналогично.
2. Настрачивание (пришивание) крестов.
Наложить кресты на епитрахиль, размещая их:
– по середине деталей;
– на одинаковом расстоянии друг от друга;
– на обеих частях епитрахили на одном уровне.
Наколоть булавками и настрочить или пришить вручную (рис. 225).
3. Наметывание бахромы.
На обе части епитрахили на расстоянии 19–21,5 см снизу наметать бахрому, отступая по бокам 1,5–2,0 см.
4. Настрачивание галуна.
Галун наложить на обе части епитрахили таким образом, чтобы он перекрывал тесьму от бахромы, и нижняя часть его совпадала с отмеченной линией (19–21,5 см снизу) (рис. 225). Настрочить и приутюжить.

Рисунок 225.
5. Стачивание деталей подкладки.
Детали подкладки продублировать, стачать по середине переда от низа на 27,5–30,0 см (до верхней линии галуна на основной детали) и по середине горловины спинки (рис. 226).
Швы разутюжить.
6. Соединение верхних частей епитрахили с подкладкой.
Верхние части наложить изнаночной стороной на изнаночную сторону подкладки, таким образом, чтобы подкладка по боковым сторонам выступала на 2 см, по низу – на 6 см, а середина горловины спинки совпадала со швом. Детали наколоть булавками на подкладку, в местах закругления сделать надсечки. Припуск подкладки заметать на верхние части епитрахили на 1 см от сгиба, а внизу дополнительно 1,5 см от среза (рис. 227).
7. Наметывание бахромы.
Бахрому наложить на епитрахиль с лицевой стороны, совмещая нижний край бахромы с нижней стороной епитрахили, боковые стороны бахромы подогнуть (если галун будет перекрывать всю тесьму бахромы, то боковые стороны не подгибать) и наметать (рис. 228).

Рисунок 226, Рисунок 227 и Рисунок 228.
8. Настрачивание галуна.
Сначала настрочить галун по середине переда епитрахили, делая закрепки в начале и конце строчек, внизу галун должен доходить до начала тесьмы бахромы. Затем галун настрочить по всему периметру, начиная от угла, сначала по внешнему контуру, затем по внутреннему. Углы заложить симметрично. В местах закругления галун сутюжить. В последнюю очередь настрочить галун по краю горловины. Сначала проложить строчку по внутреннему контуру, потом галун сутюжить, придавая ему форму горловины, затем проложить строчку по внешнему контуру (рис. 229).
9. Настрачивание (пришивание) креста.
Настрочить (пришить вручную) крест сзади посередине горловины по шву.
10. Окончательная отделка.
Удалить все сметочные нитки. Епитрахиль приутюжить. Пришить пуговицы: сложить епитрахиль пополам и пришивать, захватывая обе части епитрахили. Первая пуговица пришивается 1,5–3 см сверху. Последняя – на уровне галуна (21,5 см снизу). Расстояние между пуговицами делится на шесть частей и в отмеченных местах пришиваются остальные пуговицы (рис. 230).

Рисунок 229 и Рисунок 230.
4.2.3. Изготовление пояса
Припуски при раскрое:
1. Верхняя деталь пояса из основного материала – без припусков.
2. Нижняя деталь пояса из подкладочного материала – с припусками по 2 см с каждой стороны.
3. Внутренняя часть пояса из прокладочного материала для укрепления верхней детали пояса – без припусков.
4. Внутренняя деталь пояса из прокладочного материала для укрепления подкладки (дублерин) – с припусками по 2 см с каждой стороны.
Технология изготовления пояса
1. Дублирование пояса.
Продублировать деталь пояса из основного материала клеевой бортовкой, при необходимости подрезать. Если в качестве прокладки используется двунитка, то наложить прокладку, уравнять срезы, наколоть, а затем настрочить на 0,7 см от среза, приутюжить (рис. 231).

Рисунок 231.
2. Настрачивание (пришивание) креста.
Наложить крест на пояс, совмещая центры, наколоть булавками и настрочить или пришить вручную (рисунок 232).

Рисунок 232.
3. Обработка лент.
Заутюжить припуск ленты на изнаночную сторону с одной узкой стороны на 1,0 см. Затем сложить ленту вдоль вчетверо и заутюжить, закрепить булавками и проложить строчку по краю по трем сторонам шириной шва 1 мм и приутюжить (рис. 233)

Рисунок 233.
4. Настрачивание ленты.
Одну ленту соединить с поясом настрочным швом с закрытым срезом, располагая ее на 10 см от края посередине пояса с лицевой стороны. Расстояние от среза ленты до строчки – 0,7 см, от первой строчки до второй – 1 см (рис. 234)

Рисунок 234.
5. Соединение верхней части пояса с подкладкой
Верхнюю часть пояса изнаночной стороной наложить на изнаночную сторону подкладки таким образом, чтобы подкладка по всему периметру выступала на 2 см, наколоть булавками (подкладку предварительно проклеить дублерином). Загнуть припуск подкладки на верхнюю часть пояса и заметать на 0,5–0,7 см от сгиба. Припуск подрезать до 1–1,2 см (рис. 235).

Рисунок 235.
6. Настрачивание второй ленты.
Вторую ленту наложить с лицевой стороны пояса на 1–1,5 см от его края посередине и настрочить двойной строчкой на 0,2–0,5 см от края (рис. 236).

Рисунок 236.
7. Настрачивание галуна.
Галун настрочить по краю пояса сначала по внешнему контуру, затем по внутреннему, начиная от утла. Углы заложить симметрично.

Рисунок 237.
8. Окончательная отделка.
Удалить все сметочные нитки. Пояс приутюжить.
4.2.4. Изготовления набедренника
Припуски при раскрое:
1. Верхняя деталь набедренника из основного материала – без припусков;
2. Нижняя деталь набедренника из подкладочного материала – припуски по боковым и верхней сторонам – 2 см, по низу – 6 см;
3. Внутренняя деталь набедренника из прокладочного материала для укрепления верхней части набедренника – без припусков;
4. Внутренняя деталь набедренника из прокладочного материала для укрепления подкладки – припуски по боковым и верхней сторонам – 2 см, по низу – 6 см.
Технология изготовления набедренника
1. Дублирование набедренника.
Продублировать деталь набедренника из основного материала клеевой бортовкой, при необходимости подрезать. Если в качестве прокладки используется двунитка, то наложить прокладку, уравнять срезы, наколоть, а затем настрочить на 0,7 см от среза, приутюжить (рис. 238).
2. Настрачивание (пришивание) креста.
Наложить крест на набедренник, размещая его в центре, при этом центр креста должен совпадать с центром рисунка. Наколоть булавками и настрочить (рис. 239).

Рисунок 238 и Рисунок 239.
3. Наметывание бахромы.
Бахрому наложить на верхнюю часть набедренника на расстоянии 20,5 см снизу, совмещая нижнюю часть тесьмы с отмеченной линией и наметать (рис. 240).
4. Настрачивание галуна.
Галун наложить на верхнюю часть набедренника таким образом, чтобы он перекрывал тесьму от бахромы и нижняя часть его совпадала с отмеченной линией (20,5 см снизу). Настрочить и приутюжить (рис. 241).
5. Соединение верхней части набедренника с подкладкой.
Верхнюю часть набедренника изнаночной стороной наложить на изнаночную сторону подкладки таким образом, чтобы подкладка по боковым и верхней сторонам выступала на 2 см, а снизу – на 6 см и наколоть булавками (подкладку предварительно проклеить дублерином). Загнуть припуск подкладки на верхнюю часть набедренника и заметать на 1 см от сгиба, а внизу дополнительно 1,5 см от среза (рис. 242).

Рисунок 240, Рисунок 241 и Рисунок 242.
6. Обработка ленты.
Сложить ленту вдоль вчетверо и заутюжить, закрепить булавками и проложить строчку по краю с одной или двух сторон, шириной шва 1 мм и приутюжить.

Рисунок 243.
7. Настрачивание ленты.
Края ленты наложить на лицевую сторону набедренника сверху, отступив с боковых сторон по 0,5 см и настрочить на 0,2–0,5 см от края двойной строчкой (рис. 244).
8. Наметывание бахромы.
Бахрому наложить на набедренник с лицевой стороны, совмещая нижний край бахромы с нижней стороной набедренника, боковые стороны бахромы подогнуть (если галун будет перекрывать всю тесьму бахромы, то боковые стороны не подгибать) и наметать (рис. 245).
9. Настрачивание галуна.
Галун настрочить по краю набедренника, отступив снизу 3,5–4,5 см, перекрывая тесьму бахромы. Галун сначала настрачивать по внешнему контуру, затем по внутреннему. Углы заложить симметрично (рис. 246).

Рисунок 244, Рисунок 245 и Рисунок 246.
10. Окончательная отделка.
Удалить все сметочные нитки. Набедренник приутюжить.
4.2.5. Изготовления палицы
Припуски при раскрое:
1. Верхняя деталь палицы из основного материала – без припусков.
2. Нижняя деталь палицы из подкладочного материала – припуски – 2 см.
3. Внутренняя деталь палицы из прокладочного материала – без припусков.
Технология изготовления палицы.
1. Дублирование палицы прокладочным материалом.
Продублировать деталь палицы из основного материала поочередно жесткой клеевой прокладкой, затем наложить лекало палицы и проверить соответствие, при необходимости подрезать (рис. 247).
2. Настрачивание (пришивание) креста.
На лицевой стороне верхней части палицы провести линии середины по вертикали и горизонтали, отметить центр. Наложить крест на палицу, совмещая центры, наколоть крест булавками и настрочить или пришить вручную (рис. 248).
3. Соединение верхней части палицы с подкладкой.
Верхнюю часть палицы изнаночной стороной наложить на изнаночную сторону подкладки таким образом, чтобы подкладка по всему периметру выступала на 2 см, наколоть булавками. Загнуть припуск подкладки на верхнюю часть палицы и заметать на 0,5–0,7 см от сгиба (рис. 249).

Рисунок 247, Рисунок 248 и Рисунок 249.
4. Обработка ленты.
Сложить ленту вдоль вчетверо и заутюжить, закрепить булавками и проложить строчку по краю с одной или двух сторон, шириной шва 1 мм и приутюжить.

Рисунок 250.
5. Настрачивание ленты.
Концы ленты сложить вместе под углом 45°, наложить с лицевой стороны палицы и настрочить 0,2–0,5 см от края двойной строчкой (рис. 251).
6. Наметывание бахромы.
Бахрому наметать на нижнюю часть палицы так, чтобы тесьма не доходила 1 мм до края палицы (рис. 252).
7. Настрачивание галуна.
Галун настрочить по краю палицы, перекрывая тесьму бахромы. Сначала настрачивать по внешнему контуру, затем – по внутреннему. Углы заложить симметрично (рис. 253).

Рисунок 251, Рисунок 252 и Рисунок 253.
8. Окончательная отделка.
Удалить сметочные нитки, палицу приутюжить.
4.2.6. Изготовления поручей
Припуски при раскрое:
1. Верхняя деталь поруча из основного материала – без припусков.
2. Нижняя деталь поруча из подкладочного материала (выкраивается под углом 45°, припуски на огибание) – 2 см.
3. Внутренняя деталь поруча из прокладочного материала – без припусков.
Технология изготовления поручей.
1. Дублирование поруча.
Деталь поруча из основного материала поочередно проклеить жесткой клеевой прокладкой, затем наложить лекало поруча и проверить соответствие, при необходимости подрезать.
2. Настрачивание (пришивание) креста.
На лицевой стороне верхней части поруча провести линии середины по вертикали и горизонтали, отметить центр. Наложить крест на поруч, совмещая центры, наколоть крест булавками и настрочить или пришить вручную (рис. 254).
3. Соединение верхней части поруча с подкладкой.
Верхнюю часть поруча изнаночной стороной наложить на изнаночную сторону подкладки таким образом, чтобы подкладка по всему периметру выступала на 2 см, наколоть булавками. На припуске подкладки сделать рассечки в местах закругления. Загнуть припуск подкладки на верхнюю часть поруча и заметать на 0,5–0,7 см от сгиба. Припуск подрезать до 1–1,2 см (рис. 255).

Рисунок 254 и Рисунок 255.
4. Пришивание шнура и петель.
С одной стороны поруча отступить по 0,5 см сверху и снизу и пришить петли, далее расстояние между петлями разделить на три части и в отмеченных местах пришить еще две петли. С другой боковой стороны сверху отступить 0,5 см и пришить шнур. Далее от шнура вниз отступить половину расстояния между петлями первой боковой стороны и пришить петлю. Две оставшиеся петли пришиваются на таком же расстоянии от первой петли, как и на другой стороне. На втором поруче шнур и петли пришиваются аналогично в зеркальном отображении (рис. 256).
5. Настрачивание галуна.
Настрочить галун по краю поруча в два этапа, начиная с нижнего угла без петли. Сначала галун настрочить по внешнему контуру, закладывая в углах наверху (по короткой дуге) по одной складочке (по биссектрисе угла), внизу – по две. Затем галун сутюжить, придавая ему форму поруча. Проложить строчку по внутреннему контуру. В углах получается двойная строчка, она должна быть стежок в стежок (рис. 257).

Рисунок 256 и Рисунок 257.
6. Окончательная отделка.
Удалить все сметочные нитки. Поруч приутюжить.
